ENGINE
CRANKCASE ASSEMBLY
CYLINDER & PISTON
CRANKSHAFT SUPPORT
PTO COVER
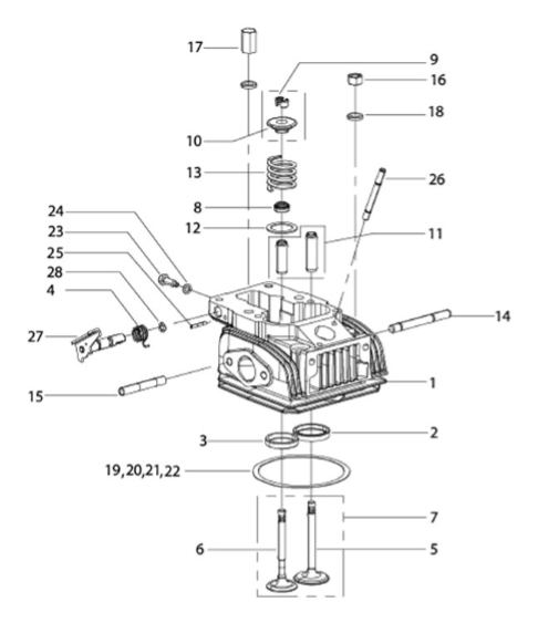
CYLINDER HEAD & DECOMPRESSION LEVER
OIL FILTER & PRESSURE RELIEF VALVE
OIL PAN
ROCKER ARM COVER
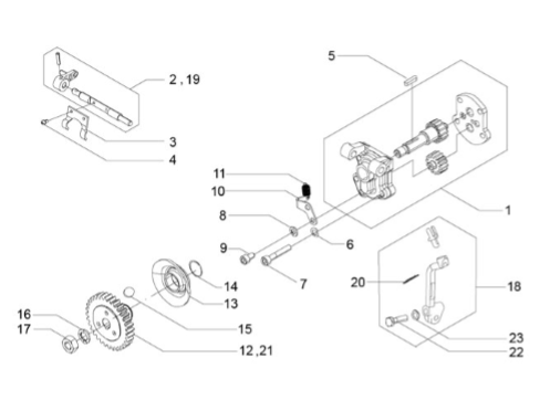
LUB OIL PUMP & SPEED GOVERNOR
REMOTE THROTTLE & STOP CONTROL
AIR SHROUD/ FLYWHEEL/ PULLEY/ ELECTRICAL START SYSTEM COMPONENTS
CONNECTING ROD/CRANK SHAFT
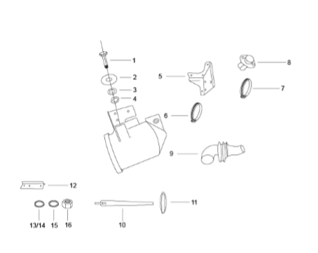
AIR CLEANER / EXHAUST MUFFLER
INJECTOR
FUEL PUMP
CAM SHAFT, ROD & ROCKER RAM
EXTERNAL FUEL FILTER&FUEL PIPES
FEED PUMP
AIR FILTER MOUNTING & ENGINE HOSE
ENGINE SIDE COVER & MAIN HOUSING
MAINSHAFT SPEEDGEAR AND CLUSTER GEAR
DIFFEREBTIAL UNIT, FARE METER HOUSING, SPEEDO DRIVE
CLUCTH & CLUCTH COVER
GEAR SHIFTER AND ITS CONTROL MECHANISM
ENGINE SUPPORT
CHASSIS FRAME, FUEL TANK & SEAT
INNER PARTS OF CABIN
CHASSIS COMPONENTS
RUBBER MAT, REAR MUDGUARD
DOORS, TOOLS AND WHEELS
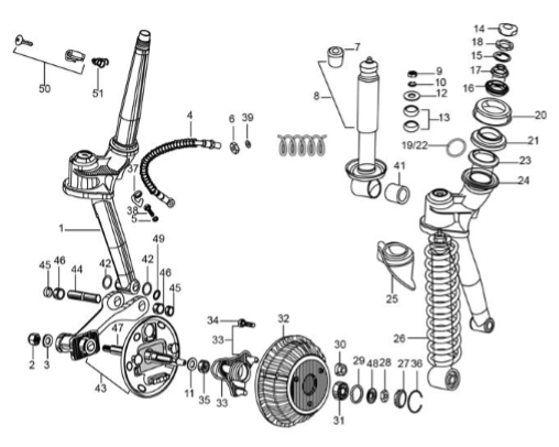
REAR SUSPENSION
STEERING COLUMN AND FRONT SUSPENSION
HANDLE BAR AND CONTROL
BRAKE - TANDEM MASTER CYLINDER, BRAKE PIPE AND HAND BRAKES
ELECTRICAL DEVICES
ELECTRICAL DEVICES A
OPEN BOX BODY (PICK-UP)
CABLE HARNESS
FRONT BRAKE ASSEMBLY SELF ADJUSTING (DIA 180 X 40 MM)
REAR BRAKE ASSEMBLY SELF ADJUSTING (DIA 180 X 40 MM)
We will send you a recovery mail. Please enter your email ID
REGISTER AS A BUSINESS TO GET MORE BENIFITS
- or -
brand
model
variant
Category
Parts