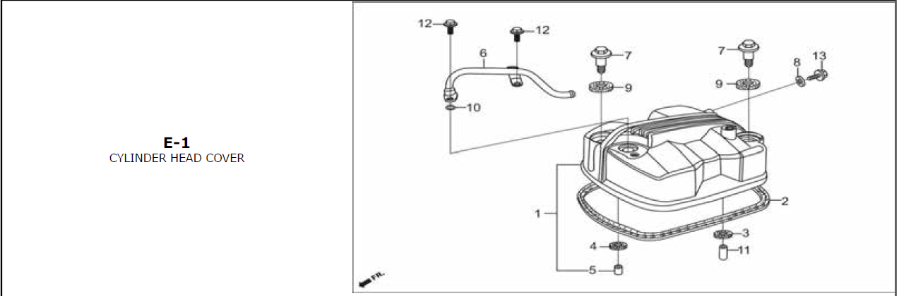
CYLINDER HEAD COVER
CYLINDER HEAD
CAM SHAFT/ VALVE
CYLINDER
CAM CHAIN TENSIONER
RIGHT CRANK CASE COVER
CLUTCH
A.C. GEN. ASSY.
STARTER MOTOR
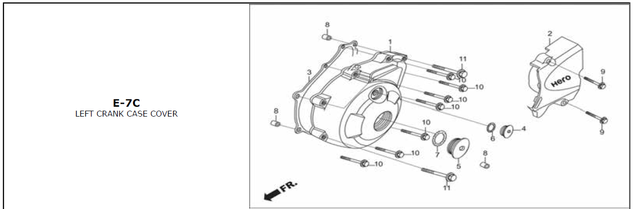
LEFT CRANK CASE COVER
OIL PUMP
CRANK SHAFT/PISTON
TRANSMISSION
SPINDLE KICK STARTER
DRUM GEAR SHIFT
CARBURETTOR
HEAD LIGHT (WITH VISOR)
FRONT COWL/STAY
SPEEDOMETER / CABLE
HANDLE LEVER / SWITCH/CABLES
FR. BRAKE MASTER CYL.
HANDLE PIPE / TOP BRIDGE
STEERING STEM
FRONT FENDER
FRONT FORK
CALIPER ASSY R FR
REAR BRAKE PANEL
REAR BRAKE MASTER CYL.
CALIPER ASSY. REAR
REAR WHEEL
SEAT ASSY. /COWLS
FUEL TANK
SIDE COVER
AIR CLEANER
MUFFLER EXHAUST
STEP PILLION
MAIN STAND/SIDE STAND
CUSHION REAR
REAR FENDER
WINKER
TAIL LIGHT
WIRE HARNESS/START CABLES
BATTERY ASSY
FRAME BODY/ASV/GRIP REAR
TOOLS
STRIPE/ MARKS
GUARD FRONT
GUARD SARI
We will send you a recovery mail. Please enter your email ID
REGISTER AS A BUSINESS TO GET MORE BENIFITS
- or -
brand
model
variant
Category
Parts