CYLINDER HEAD
CYLINDER
CAM SHAFT/VALVE
CAM CHAIN TENSIONER
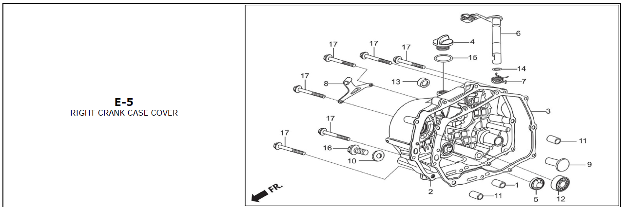
RIGHT CRANK CASE COVER
CLUTCH
LEFT CRANK CASE COVER (SELF START)
A.C.GEN. ASSY.STARTING CLUTCH(SELF START)
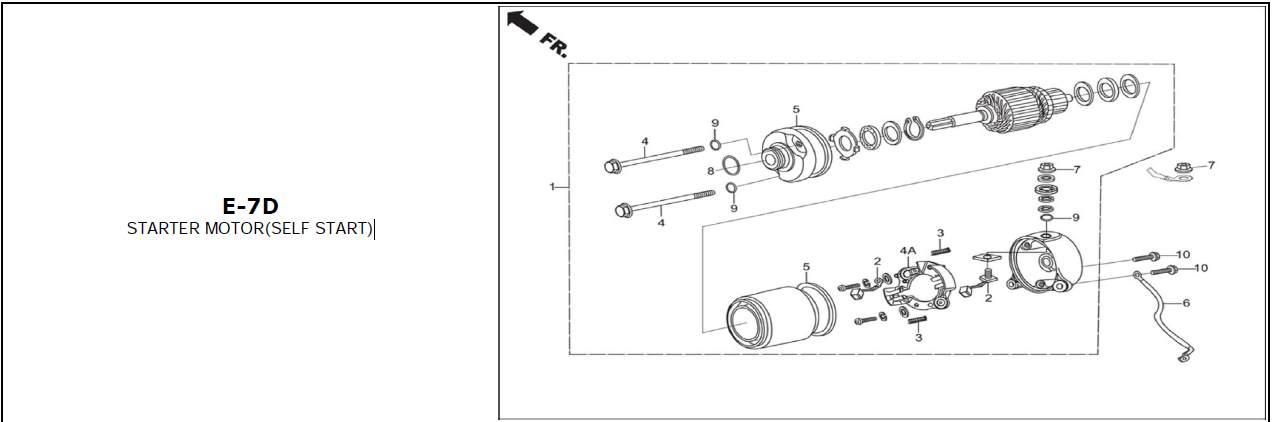
STARTER MOTOR(SELF START)
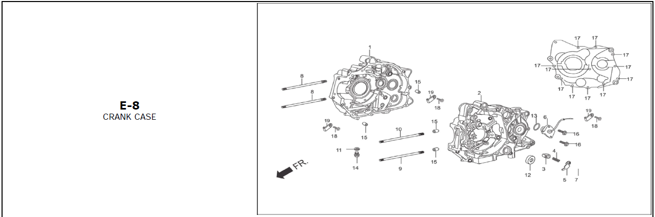
CRANK CASE
OIL PUMP
CRANK SHAFT/PISTON
TRANSMISSION
KICK STARTER
GEAR SHIFT
CARBURETTOR
LIGHT ASSY. HEAD
FR. NUMBER PLATE (OPTIONAL)
SPEEDOMETER/CABLE/KEY SET
HANDLE LEVER/SWITCH/CONTROL CABLE
HANDLE PIPE/TOP BRIDGE
STEERING STEM
FRONT FENDER
FRONT FORK
FR. BRAKE PANEL
FRONT WHEEL(DRUM)
REAR BRAKE PANEL
REAR WHEEL
SEAT ASSY./RR COWL/REAR GRIP
FUEL TANK
SIDE COVER
AIR CLEANER
MUFFLER
STEP ASSY./KICK STARTER/GEAR CHANGE PEDAL/SIDE STAND
MAIN STAND/PEDAL BRAKE
SWINGARM/CHAIN CASE
REAR CUSHION
REAR FENDER
WINKERS
TAIL LIGHT
WIRE HARNESS
FRAME BODY/UTILITY BOX
TOOLS
STRIPES/MARKS
GUARD ENGINE
GUARD SARI
CAUTION LABEL
We will send you a recovery mail. Please enter your email ID
REGISTER AS A BUSINESS TO GET MORE BENIFITS
- or -
brand
model
variant
Category
Parts