SHROUD / FAN COVER
CYLINDER HEAD COVER
CYLINDER HEAD
CAMSHAFT/VALVE
CAM CHAIN/TENSIONER
CYLINDER
RIGHT CRANK CASE
GENERATOR
OIL PUMP
STARTING MOTOR
LEFT CRANK CASE COVER
DRIVE FACE
DRIVEN FACE
CASE MISSION /TRANSMISSION
LEFT CRANK CASE
CRANK SHAFT/PISTON
CARBURETTOR
HEAD LIGHT
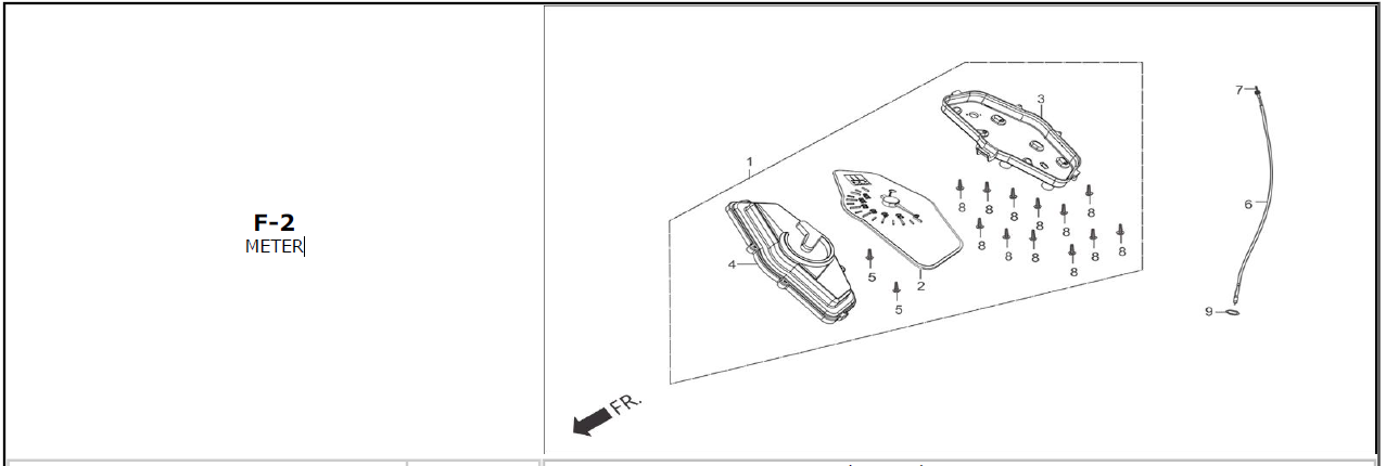
METER
HANDLE LEVER/SWITCH/CABLE
STEERING HANDLE/HANDLE COVER
FRONT FENDER
FR. & INNER COVER
FLOOR PANEL
BODY COVER
STRG. STEM/FR. FORK
FRONT WHEEL SHEET METAL
FRONT WHEEL
REAR WHEEL SHEET METAL
REAR WHEEL
SEAT/LUGGAGE BOX
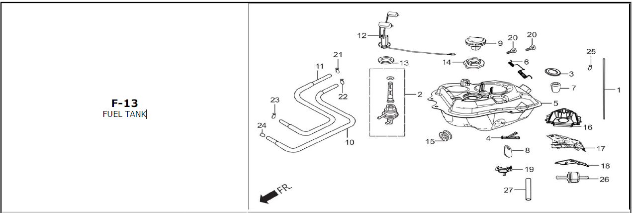
FUEL TANK
REAR FENDER
AIR CLEANER
AIR SUCTION VALVE
EXHAUST MUFFLER
ARM KICK START/MAIN STAND
REAR CUSHION
FRONT WINKER
REAR COMBINATION LIGHT
BATTERY
WIRE HARNESS
FRAME BODY
TOOLS
CAUTION LABEL
MARK/STRIPE
SARI STEP SET (OPTIONAL)
FR. INNER BOX (OPTIONAL)
FR./RR.NUMBER PLATE (OPTIONAL)
SIDE STAND (OPTIONAL)
USB CHARGER ASSY./LIGHT ASSY., BOOT/LOAD HOOK ASSY. (OPTIONAL)
We will send you a recovery mail. Please enter your email ID
REGISTER AS A BUSINESS TO GET MORE BENIFITS
- or -
brand
model
variant
Category
Parts