CAM SHAFT / VALVE
CYLINDER/CYLINDER HEAD
CAM CHAIN TENSIONER
RIGHT CRANKCASE COVER
CLUTCH
LEFT CRANKCASE COVER/A.C. GEN. ASSY
CRANK CASE/OIL PUMP
CRANKSHAFT/PISTON
TRANSMISSION
KICK STARTER
GEAR SHIFT
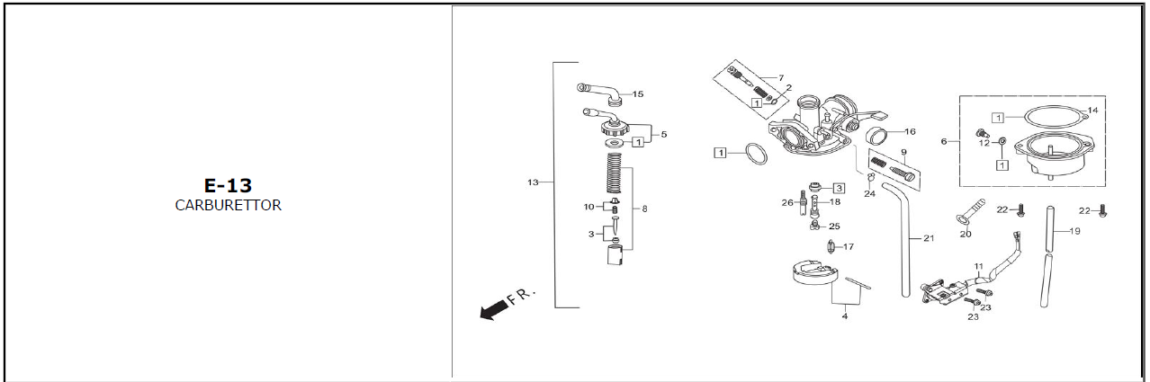
CARBURETTOR
HEADLIGHT / FR. VISOR
SPEEDOMETER/CABLE/KEY SET
HANDLE LEVER/SWITCH/CONTROL CABLE
HANDLE PIPE / TOP BRIDGE
STEERING STEM/HORN
FENDER FRONT
FRONT FORK
FRONT BRAKE PANEL
FRONT WHEEL
REAR BRAKE PANEL
REAR WHEEL
SET ASSY./RR. COWL/REAR CARRIER
FUEL TANK
SIDE COVER
AIR CLEANER
EXHAUST MUFFLER
STEP ASSY./KICK STARTER/GEAR CHANGE PEDAL/SIDE STAND/PILLION STEP
MAIN STAND / BRAKE PEDAL
SWINGARM/CHAIN CASE
REAR CUSHION
REAR FENDER
FR./RR. NUMBER PLATE (OPTIONAL)
WINKERS
TAIL LIGHT
WIRE HARNESS/BATTERY
FRAME BODY/UTILITY BOX
TOOLS
STRIPE / MARKS
GUARD ENGINE
GUARD SARI STEP PILLION WOMEN
MARK CAUTION
We will send you a recovery mail. Please enter your email ID
REGISTER AS A BUSINESS TO GET MORE BENIFITS
- or -
brand
model
variant
Category
Parts